
擬建項目位于山西運城聞喜縣城南東路西。
地基土承載力特征值一覽表
土 層
土工試驗
fak(kPa)
標貫試驗
fak(kPa)
建議值
fak(kPa)
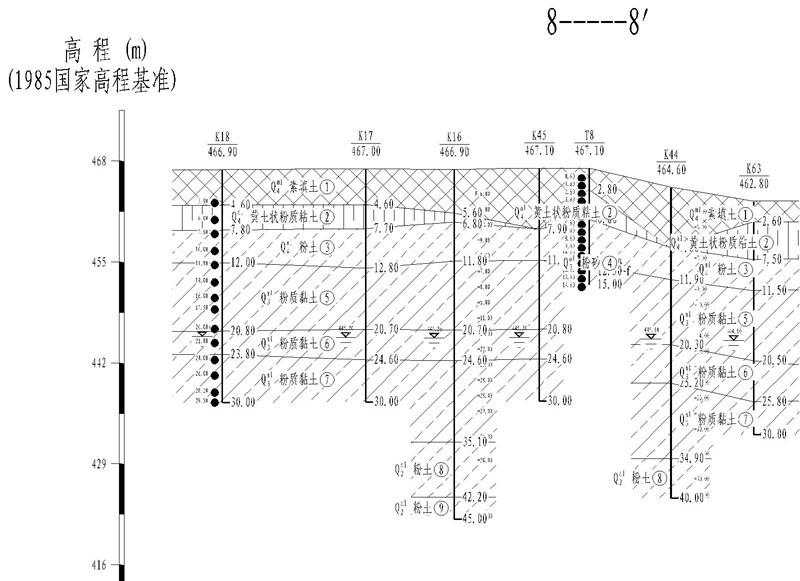
①素填土(0.8-7.9m)
80
120
80
②黃土狀粉質粘土(1.2-7.8m)
120
110
120
③粉土(1.0-7.8m)
140
140
140
④粉細砂(0.1-3.7m局部)
170
170
⑤粉質粘土(5.5-12.1m)
160
160
160
⑥粉質粘土(2.0-8.4m)
230
250
230
⑦粉質粘土(3.1-11.4m)
200
260
200
⑧粉土(2.5-9.0m)
260
270
260
⑨粉土(最大揭露深度7.2m)
250
280
280
側阻力特征值及樁端端阻力特征值一覽表
土層名稱
第i層土側阻力特征值(KPa)
第i層土端阻力特征值(KPa)
①素填土(0.8-7.9m)
5
②黃土狀粉質粘土(1.2-7.8m)
10
③粉土(1.0-7.8m)
25
④粉細砂(0.1-3.7m局部)
12
⑤粉質粘土(5.5-12.1m)
28
350
⑥粉質粘土(2.0-8.4m)
33
450
⑦粉質粘土(3.1-11.4m)
31
440